The Ultimate Guide How Did Alice H Parker Die - Portal Extremitycare

The Ultimate Guide How Did Alice H Parker Die - Portal Extremitycare


Here’s Why You Should Know Alice Parker, The Visionary Black Woman

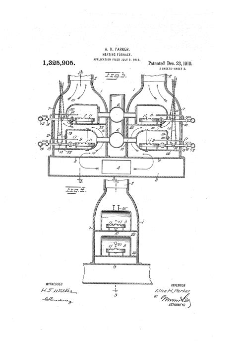
Webjan 21, 2023 · black entrepreneur history, there lived an african american woman named alice h. Parker, and she became the inventor of natural gas central heating.


AFRICAN & BLACK HISTORY on Twitter: "In 1919, Alice Parker invented a


10 black inventors who changed your life – Artofit


Read also: Craigslist In Des Moines

close